潺林电子


  • 返回
  • 首页
  • 导航
  • 首页
    右

    固态继电器的原理


    固态继电器的原理

    固态继电器与机电继电器相比,是一种没有机械运动,不含运动零件的继电器,但它具有与机电继电器本质上相同的功能。固态电子元件组成的无触点开关元件,他利用电子元器件的点,磁和光特性来完成输入与输出的可靠隔离,利用大功率三极管,功率场效应管,单项可控硅和双向可控硅等器件的开关特性,来达到无触点,无火花地接通和断开被控电路。

    固体继电器的工作原理

    固体继电器是利用现代微电子技术与电力电子技术相结合而发展起来的一种新型无触点电子开关器件。它可以实现用微弱的控制信号(几毫安到几十毫安)控制01A直至几百A电流负载,进行无触点接通或分断。固体继电器是一种四端器件,两个输入端,两个输出端。输入端接控制信号,输出端与负载、电源串联,SSR实际是一个受控的电力电子开关,其等效电路如图。

     


    由于固体继电器具有高稳定、高可靠、无触点及寿命长等优点,广泛应用在电动机调速、正反转控制、调光、家用电器、烘箱烘道加温控温、送变电电网的建设与改造、电力拖动、印染、塑科加工、煤矿、钢铁、化工和军用等方面。


    固体继电器的工作原理
        固太继电器与通常的电磁继电器不同:无触点、输入电路与输出电路之间光()隔离、由分立元件.半导体微电子电路芯片和电力电子器件组装而成,以阻燃型环氧树脂为原料,采用灌封技术持其封闭在外壳中、使与外界隔离,具有良好的耐压、防腐、防潮抗震动性能。

    固体继电器由输入电路、驱动电路和输出电路三部分组成。

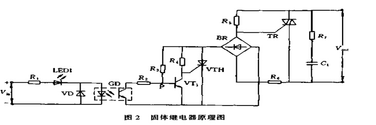
    这里仅以应用较多的交流过零型固体继电器为例,介绍其工作原理。该电路采用了过零触发技术,具有电压过零时开启,负裁电流过零时关断的特性,在负载上可以得到一个完整的正弦波形,因此电路的射频干扰很小。该  电路由信号输人电路、零电压检测控制电路、工作指示电路、双向晶闸管控制电路和吸收电路几部分组成。采用了光电耦合器GD作为输入电路和输出电路之间的隔离元件,VD是防止Vin正负接反烧坏GD




    当输入信号关断后GD中的光敏三极管截止, G1饱和导通使SCR门极箝位在低电位而关断,但是此时TR仍保持导通状态,负载上仍有电流流过,直到负载电流随VAC减小到小于双向晶闸管TR的维持电流后才会自行关断,切断负载电源。


    由于触发信号方式不同,AC—SSR还分为过零型触发(Z)和非过零型或随机型(P)触发两种,如图为其工作波形图。可见过零型和非过零型之间的区别主要在于负载交流电流导通的条件。过零型在输入信号Vin施加的t1时刻,由于此时电源电压处在非过零区,其输出端不导通,只有当电源电压到达过零区t2时,输出端负载中才有电流流过。而非过零型在输入信号Vin施加的t1时刻,不管电源电压处在什么状态,负载立刻导通。这两种类型的固体电器关断条件则相同。


    右相关新闻

    电话 短信  地图    留言